产品分类

联系我们

江苏森宇流体科技有限公司 

地址:江苏省启东市汇龙镇台角村(杨沙路27号)
电话:0513-83821332
传真:0513-83821332
邮编:226200 

http://www.jssylt.com 
E-mail:sy@jssylt.com


江苏森宇

 
LQ系列列管式冷却器(1.0~1.6MPa)
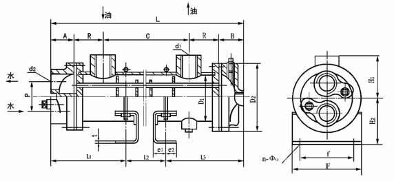
2LQGW型冷却器
2LQGW型冷却器外形图及尺寸
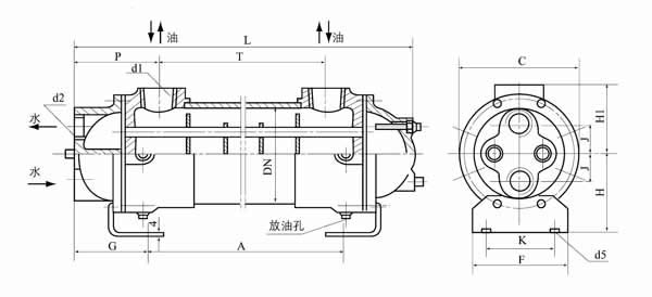
2LQG2W型(固定管板式)冷却器
2LQG2W型(固定管板式)冷却器外形图及尺寸
4LQF3W型冷却器