产品分类

联系我们

江苏森宇流体科技有限公司 

地址:江苏省启东市汇龙镇台角村(杨沙路27号)
电话:0513-83821332
传真:0513-83821332
邮编:226200 

http://www.jssylt.com 
E-mail:sy@jssylt.com


江苏森宇

 
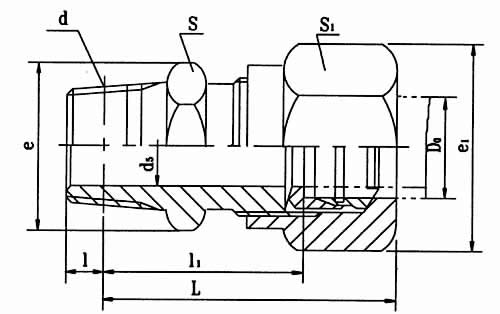
卡套式锥螺纹对接直通管接头(16MPa)
本标准规定了卡套式锥螺纹对接直通管接头,适用于油、气及一般腐蚀性介质的管路系统。
标记示例:
   公称压力E级,管子外径D0为14mm的卡套式锥螺纹对接直通管接头:
   管接头E14 JB/ZQ4406-97
 
管子外径D0
公称通径DN
d5
d
l
l1≈
L≈
扳手尺寸
e
e1
重 量(kg/100件)
S
S1
E(16)
4
3
Z1/8
4.572
22
38
13
15
15
17.3
3.18
5
3.5
6
4
24.7
43
16
18.5
4.23
8
6
Z1/4
5.080
31
49
16
18
18.5
20.8
6.77
10
8
32
52
18
21
20.8
24.2
8.12
12
10
Z3/8
6.096
23
53
21
24
24.2
27.7
9.61
14
12
12.1
16
14
Z1/2
8.128
34
54
27
27
31.2
31.2
16.6
18
15
34.5
30
34.6
19
20
17
NZ3/4
8.611
39
62
34
34
39.3
39.3
27.3
22
19
43.5
67
36
41.6
31.4
25
22
Z1
10.160
45.5
72
41
41
47.3
47.3
44.7
28
24
46.5
73
48.2
32
27
Z11/4
10.668
34.5
76
48.5
50
57.7
57.7
71.7
34
30
77
76.6
40
34
Z11/2
35
63
49.5
55
63.5
63.5
83.9
42
36
60
69.3
92.6