产品分类

联系我们

江苏森宇流体科技有限公司 

地址:江苏省启东市汇龙镇台角村(杨沙路27号)
电话:0513-83821332
传真:0513-83821332
邮编:226200 

http://www.jssylt.com 
E-mail:sy@jssylt.com


江苏森宇

 
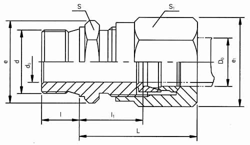
卡套式端对接直通管接头(25MPa、40MPa)
本标准规定了卡套式端对接直通管接头,适用于油、气及一般腐蚀性介质的管路系统。
标记示例:
   公称压力J级,管子外径D0为14mm的卡套式端对接直通管接头:
   管接头J14 GB/T3754.1-1983
 
管子外径D0
公称通径DN
d5
d
l
l1≈
L≈
扳手尺寸
e
e1
重 量(kg/100件)
S
S1
G(25)
4
3
M10×1
16
31
15
15
17.3
17.3
3.08
5
3.5
6
4
18.7
36
16
18.5
4.15
8
6
M12×1.5
12
22
40
16
18
18.5
20.8
6.23
10
8
M14×1.5
23
43
18
21
20.8
24.2
8.02
12
10
M16×1.5
24
44
21
24
24.2
27.7
10.6
14
12
M18×1.5
24
27.7
12.1
16
14
M22×1.5
14
25
46
27
27
31.2
31.2
16.2
18
15
25.5
30
34.6
18.9
20
17
M27×2
16
27
50
34
34
39.3
39.3
26.5
22
19
31.5
55
36
41.6
30.8
25
22
M33×2
18
33.5
59
41
41
47.3
47.3
44.1
28
24
34.5
61
47.5
32
27
M42×2
20
36.5
64
50
50
57.7
57.7
47.9
34
30
65
68.3
40
34
M50×2
22
37.5
66
60
55
69.3
63.5
90.1
42
36
60
69.3
101
J(40)
6
3
M12×1.5/G1/8″
12
23
41
16
18
18.5
20.8
7.27
8
5
M14×1.5/G1/4″
24
43
18
21
20.8
24.2
9.06
10
7
M16×1.5/G3/8″
25.5
46
21
24
24.2
27.7
12.3
12
8
M80×1.5/G(1/2″)
26.5
47
24
27.7
15
14
10
14
27
48
27
27
31.2
31.2
18.3
16
12
M22×1.5
28
50
30
34.6
22.7
18
14
29.5
53
30
34
34.6
39.3
25.5
20
16
M27×2
16
34.5
62
34
36
39.3
41.6
36.6
22
18
35.5
64
36
41
41.6
47.3
45.7
25
20
M33×2
18
38
67
41
47.3
54.2
28
22
39.5
69
46
53.1
63.4