产品分类

联系我们

江苏森宇流体科技有限公司 

地址:江苏省启东市汇龙镇台角村(杨沙路27号)
电话:0513-83821332
传真:0513-83821332
邮编:226200 

http://www.jssylt.com 
E-mail:sy@jssylt.com


江苏森宇

 
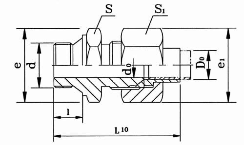
扩口式端直通管接头JB/ZQ5625.1-85
本标准适用于油、气为介质的管路系统用扩口式端直通管接头。
标记示例:
   管子外径D0为10mm的扩口式端直通管接头:
   管接头10 GB5625.1-85
 
管子外径DO
d0
d
l
l1≈
e1
e
s1
s
重 量(kg/100件)
4
3
M10×1
8
31.5
15
17.3
13
15
2.99
5
3.5
3.5
6
4
35.5
17.3
15
4.82
8
6
M12×1.5
12
44
20.8
18.5
18
16
5.95
10
8
M14×1.5
45
24.2
20.8
21
18
7.86
12
10
M16×1.5
45.5

27.7

24.2
24
21
9.95
14
12
M18×1.5
31.2
27.7
27
24
18.3
16
14
M22×1.5
14
49
34.6
31.2
30
27
17.1
18
15
17.8
20
17
M27×2
16
58.5
41.6
39.3
36
34
29.2
22
19
59.5
31.7
25
22
M33×2
18
64
47.3
47.3
41
41
42.5
28
24
66.6
53.1
46
50
32
27
M42×2
20
71
57.7
57.7
50
50
67.7
34
30
71.5
68.3